+375 (29) 691-53-65 +375 (17) 307-21-01 +375 (17) 352-26-80 +375 (17) 353-75-54
Редуктор Ц3ВК-100 (В-100) крановый
Цену уточняйте
Цилиндрический трехступенчатый вертикальный крановый редуктор. Передаточные числа 10 — 40. Допустимый крутящий момент на выходном валу 172 — 563 Н*м.
Цилиндрический трехступенчатый вертикальный крановый редуктор Ц3ВК-100 (В-100), Ц3ВК-100Ф (В-100Ф), Ц3ВКФ-100 (ВФ-100)
Передаточные числа 10 — 40. Допустимый крутящий момент на выходном валу 172 — 563 Н*м.
Технические характеристики редуктора Ц3ВК-100 (В-100), Ц3ВК-100Ф (В-100Ф), Ц3ВКФ-100 (ВФ-100)
| Передаточное число | Номинальный крутящий момент на выходном валу при частоте вращения входного вала 1000 об/мин, Н*м | КПД | Масса, кг | ||
| Номин. | Фактич. | min | mаx | ||
| 10; 12,5 | 10; 12,45 | 172 | 438 | 0,94 | 52 |
| 16 | 15,71 | 188 | 438 | ||
| 20; 25 | 20,28; 25,11 | 188 | 500 | ||
| 31,5; 40 | 32,02; 38,54 | 203 | 563 | ||
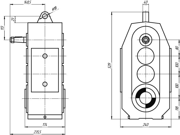
Габаритные и присоединительные размеры редуктора
Вариант без фланца

Вариант с фланцем

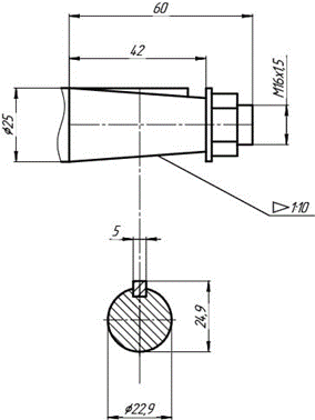
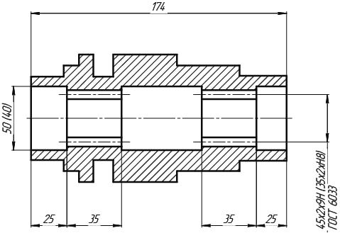
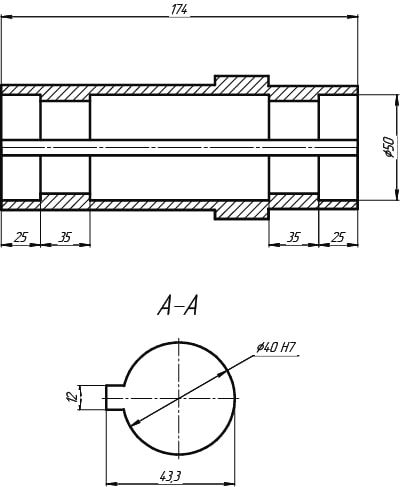
Концы входного и выходного вала Ц3ВК-100 (В-100), Ц3ВК-100Ф (В-100Ф), Ц3ВКФ-100 (ВФ-100)
Исполнение входного вала (конический)

Исполнение выходного вала (полый шлицевой)

Исполнение выходного вала (полый шпоночный)

Варианты сборки редуктора

Пример условного обозначения редуктора
Редуктор В(Ц3ВК)-100ф-40-16Пшл-У3, где
- В(Ц3ВК) — тип цилиндрический трёхступенчатый вертикальный крановый редуктор
- 100 — межосевое расстояние тихоходной ступени, мм
- ф — фланцевый
- 40 — передаточное число редуктора
- 16Пшл — схема сборки (Пшл- полый шлицевой вал, Пшп- полый вал со шпоночным пазом)
- У3 — климатическое исполнение и категория размещения по ГОСТ 15150-69






