+375 (29) 691-53-65 +375 (17) 307-21-01 +375 (17) 352-26-80 +375 (17) 353-75-54
Муфта МУВП-13 (16000 Н*м) макс. диаметр вала 160 мм
✔ В наличии
9900.00 Br Цена без НДС
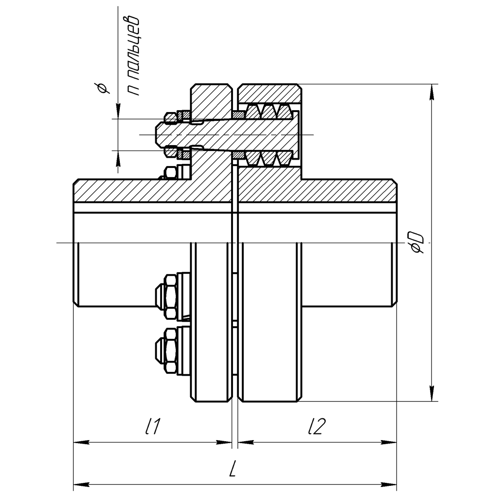
Муфта упругая втулочно-пальцевая МУВП-13 (момент 16000 Н*м) универсальная, под расточку, максимальная расточка 160 мм
Заказать муфту упругую втулочно-пальцевую МУВП-13
Консультация: +375 (29) 338-82-60 (Viber, WhatsApp), +375 (17) 353-75-54 — Дмитрий Викторович
Заказ: mufta@spe.by
Заказ: mufta@spe.by
Варианты исполнения муфты в наличии на складе:

Характеристики муфты МУВП-13 (16000 Н*м)
| Номер муфты | Номинальный крутящий момент Ткр, Н*м |
d H8 |
d1 H9 |
d H8 |
d1 H9 |
D, не более | L, не более, для исполнений |
l, h14, не более, для исполнений |
Частота вращения, с -1 , не более |
Масса, кг | ||||||
|---|---|---|---|---|---|---|---|---|---|---|---|---|---|---|---|---|
| Ряд 1 | Ряд 2 | 1 | 2 | 3 | 4 | 1 | 2 | 3 | 4 | |||||||
| МУВП-13 | 16000,0 | — | 120 | 500 | 435 | 345 | 435 | 345 | 210 | 165 | 170 | 125 | 24 | 237,81 | ||
| 125 | — | 234,61 | ||||||||||||||
| — | 130 | 515 | 415 | 515 | 415 | 250 | 200 | 205 | 155 | 19 | 264,31 | |||||
| 140 | — | 264,61 | ||||||||||||||
| — | 150 | 356,31 | ||||||||||||||
| 160 | — | 615 | 495 | 615 | 495 | 300 | 240 | 245 | 185 | 308,11 | ||||||
Палец П7, 10 шт. Максимальный диаметр расточки для левого фланца – ∅155 мм, для правого — ∅160 мм.
| Номинальный крутящий момент муфты, Н*м | |
|---|---|
| Диаметр вала максимальный, мм | 160 |







